Kenwood TS-820 (TS 820 TS820) mods reviews software and diagrams

   
 
ham | what is new | links
 Welcome to Www.Hampedia.net  submit to reddit
06 December 2025, 21:51 UTC 


SDR


ELAD
SDRplay

Transceivers


Kenwood
Midland
Yaesu
Alinco
Icom
Other

Antennas


M2
Par
Gap
Sirio
Araki
Maco
Nil-Jon
Maldol
Comet
Hustler
Nagoya
Watson
Hy-Gain
Dressler
Cue Dee
Solarcon
Diamond
Cushcraft
Quicksilver
Moonraker

Power supplies


Powerbox
Kenwood
Diamond
Samlex
Mascot
Daiwa
Yaesu
Alinco
Icom
H&H

Rotators


M2
CDE
Yaesu
Create
Kenpro

Antenna tuners


MFJ
LDG
SGC
Icom
Yaesu
Mizuho
Dentron
Kenwood
Sommerkamp
Barker & Williamson

Repeaters


GME
Icom
Zodiac
Kenwood

Transverters


Microwave Modules
Tokyo Hy-Power
SSB Electronics
Tecnostudi
Kenwood
Yaesu
Minix

Meters


Diamond
Comet
Bird
MFJ

Ham resources


Propagation:
  Sporadic E skip (Es)
  Backscatter
  Tropo
  Meteor Scatter (MS)
  F2 Skip
  Aurora
  Trans-equatorial scatter (TE)
  Lightning scatter (LS)

Kenwood TS-820 (TS 820 TS820)
TS-820
Programming interface schematics for Kenwood :
Programming software for Kenwood TS-820 (TS 820 TS820) :
PDF User Manual for Kenwood TS-820 (TS 820 TS820) :
PDF Service Manual/schematics for Kenwood TS-820 (TS 820 TS820) :

Mods for Kenwood TS-820 (TS 820 TS820) :
   Kenwood TS-820 (TS 820 TS820) receive problem after transmitting
   Kenwood TS-820 (TS 820 TS820) Additional info about the VCO table in the Service manual
   Kenwood TS-820 (TS 820 TS820) DS-2 Replaces DS-1A DC-DC Converter
   Kenwood TS-820 (TS 820 TS820) General Alignment Procedure
   Kenwood TS-820 (TS 820 TS820) RIT modification
   Kenwood TS-820 (TS 820 TS820) Microphone input attenuator
   Kenwood TS-820 (TS 820 TS820) Fix the problem with the display
   Kenwood TS-820 (TS 820 TS820) New Display Tube for DG-1
   Kenwood TS-820 (TS 820 TS820) CW filter select control
   Kenwood TS-820 (TS 820 TS820) Installing AUX Band in TS-820 (RX only)
   Kenwood TS-820 (TS 820 TS820) TA7201P Substitution Parts Kit
   Kenwood TS-820 (TS 820 TS820) Speech Processor Alignment

Kenwood TS-820 (TS 820 TS820) technical specifications :  Kenwood TS-820 (TS 820 TS820) technical specifications



Kenwood TS-820 (TS 820 TS820) TA7201P Substitution Parts Kit

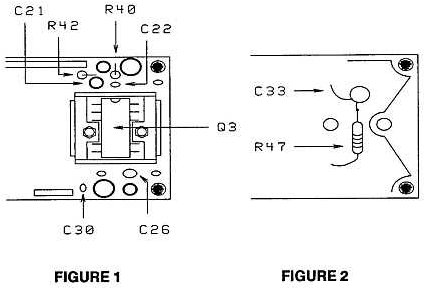
The Toshiba TA7201P audio amplifier (Q3) used in the TS-820(S) and R-820 is no longer available. The part has been replaced with a kit (Part # W05-0257-00). This service bulletin will provide the correct installation procedures for replacing a defective TA7201P with the new kit.

  1. Disconnect the power cord and antenna from the transceiver.

  2. Remove the covers from the transceiver and disconnect the speaker wire.

  3. Remove the AF AVR board from the bottom of the transceiver (4 screws and 3 connectors).

  4. Remove the two nuts that secure the heat sink to the audio amplifier (Q3) and then remove the heat sink. Figure 1.

  5. Desolder and remove Q3, C21, C22, C26, C33, R40, R42, and R47 from the AF AVR board. C33 and R47 are mounted on the foil side of the board, but may not be installed on some models. Figure 1 and 2.

  6. Using the parts from the kit, install a 22 uF capacitor in the C21 position, a 0.068 uF capacitor (labeled 683K) in the C22 position, a 3.9 ohm resistor in the R40 poisition, and a 470 ohm resistor int he R42 position. Figure 1

  7. Solder a 0.1 uF capacitor (labeled 104K) in parallel with C30. Mount the part on the foils side of the AF AVR board. Figure 1

  8. Remove the two nuts from the heat sink mounting srews. Figure 3.

  9. Replace the mounting screws with the ones in the kit. If the original screws have been soldered to the board, remove the excess solder and while the screws are still hot, turn the board upside down to allow the screws to fall onto the workingsurface. Figure 3.

  10. Secure the new mounting screws with the two nuts that were removed in step 8. Figure 3

  11. Install the heat sink and secure it with the two hexagon bosses from the kit. Figure 3

  12. Insert the wires from the new audio amplifier circuit board as shown in the diagram. Make sure the pins are firmly seated and then solder them into place. Figure 4

  13. Apply a thin layer of silicon grease to the back of the audio chip.

  14. Insert the circuit board into the heat sink and secure it with the two nuts that were removed in step 4. Avoid pinching the wires between the board and the bosses as well as the board and the heat sink.
  15. Attach the heat sink spring from the kit over the chip. Figure 5

  16. Assemble the transceiver by reversing steps 1-3.

Note:
Due to the differences in characteristics between the TA7201P and the new audio chip, the noise level will be increased. The increase in noise will effect the position of the AF gain control. Should it be found that the audio is too low, the value of resistor R4 on the AF AVR board can be reduced from 220 ohms to 82 ohms. The resistor removed from the R40 position can be used in this situation.

Figure 1 and 2 Figure 3 and 4 Figure 5 and 6


More Kenwood Radioamateur Transceivers

Kenwood VHF/UHF Handhelds:
    Kenwood TH-D7AG (TH D7 AG THD7AG) service manual and specs
    Kenwood TH-D7E (TH D7E THD7E) service manual and specs
    Kenwood TH-D72A (TH D72A THD72A) service manual and specs
    Kenwood TH-D72E (TH D72E THD72E) service manual and specs
    Kenwood TH-F6A (TH F6A THF6A) service manual and specs
    Kenwood TH-F7E (TH F7E THF7E) service manual and specs
    Kenwood TH-G71E (TH G71E THG71E) service manual and specs
    Kenwood TH-K2AT (TH K2 AT THK2AT) service manual and specs
    Kenwood TH-K2E (TH K2E THK2E) service manual and specs
    Kenwood TH-K2ET (TH K2ET THK2ET) service manual and specs
    Kenwood TH-K4E (TH K4E THK4E) service manual and specs
    Kenwood TH-K7 (TH K7 THK7) service manual and specs
    Kenwood TH-21AT (TH 21AT TH21AT) service manual and specs
    Kenwood TH-21E (TH 21E TH21E) service manual and specs
    Kenwood TH-22E (TH 22E TH22E) service manual and specs
    Kenwood TH-25AT (TH 25AT TH25AT) service manual and specs
    Kenwood TH-25E (TH 25E TH25E) service manual and specs
    Kenwood TH-26E (TH 26E TH26E) service manual and specs
    Kenwood TH-27E (TH 27E TH27E) service manual and specs
    Kenwood TH-28E (TH 28E TH28E) service manual and specs
    Kenwood TH-41E (TH 41E TH41E) service manual and specs
    Kenwood TH-42E (TH 42E TH42E) service manual and specs
    Kenwood TH-45AT (TH 45AT TH45AT) service manual and specs
    Kenwood TH-45E (TH 45E TH45E) service manual and specs
    Kenwood TH-46E (TH 46E TH46E) service manual and specs
    Kenwood TH-47E (TH 47E TH47E) service manual and specs
    Kenwood TH-48E (TH 48E TH48E) service manual and specs
    Kenwood TH-55E (TH 55E TH55E) service manual and specs
    Kenwood TH-59 (TH 59 TH59) service manual and specs
    Kenwood TH-75E (TH 75E TH75E) service manual and specs
    Kenwood TH-77A (TH 77A TH77A) service manual and specs
    Kenwood TH-77E (TH 77E TH77E) service manual and specs
    Kenwood TH-78E (TH 78E TH78E) service manual and specs
    Kenwood TH-79E (TH 79E TH79E) service manual and specs
    Kenwood TH-89 (TH 89 TH89) service manual and specs
    Kenwood TH-205E (TH 205E TH205E) service manual and specs
    Kenwood TH-215E (TH 215E TH215E) service manual and specs
    Kenwood TH-405E (TH 405E TH405E) service manual and specs
    Kenwood TH-415E (TH 415E TH415E) service manual and specs
    Kenwood TR-2200A (TR 2200A TR2200A) service manual and specs
    Kenwood TR-2200G (TR 2200G TR2200G) service manual and specs
    Kenwood TR-2200GII (TR 2200GII TR2200GII) service manual and specs
    Kenwood TR-2200GX (TR 2200GX TR2200GX) service manual and specs
    Kenwood TR-2200 (TR 2200 TR2200) service manual and specs
    Kenwood TR-2300 (TR 2300 TR2300) service manual and specs
    Kenwood TR-2400 (TR 2400 TR2400) service manual and specs
    Kenwood TR-2500 (TR 2500 TR2500) service manual and specs
    Kenwood TR-2600E (TR 2600 E TR2600E) service manual and specs
    Kenwood TR-3200 (TR 3200 TR3200) service manual and specs
    Kenwood TR-3500 (TR 3500 TR3500) service manual and specs
    Kenwood TR-3600 (TR 3600 TR3600) service manual and specs

Kenwood Mobile VHF/UHF Transceivers:
    Kenwood TM-D700A (TM D700A TMD700A) service manual and specs
    Kenwood TM-D700E (TM D700E TMD700E) service manual and specs
    Kenwood TM-G707E (TM G707E TMG707E) service manual and specs
    Kenwood TM-V7A (TM V7A TMV7A) service manual and specs
    Kenwood TM-V7E (TM V7E TMV7E) service manual and specs
    Kenwood TM-V708 (TM V708 TMV708) service manual and specs
    Kenwood TM-V708A (TM V708A TMV708A) service manual and specs
    Kenwood TM-201A (TM 201A TM201A) service manual and specs
    Kenwood TM-211E (TM 211E TM211E) service manual and specs
    Kenwood TM-221E (TM 221E TM221E) service manual and specs
    Kenwood TM-231E (TM 231E TM231E) service manual and specs
    Kenwood TM-241E (TM 241E TM241E) service manual and specs
    Kenwood TM-251E (TM 251E TM251E) service manual and specs
    Kenwood TM-255E (TM 255E TM255E) service manual and specs
    Kenwood TM-261A (TM 261A TM261A) service manual and specs
    Kenwood TM-271A (TM 271 A TM271A) service manual and specs
    Kenwood TM-401A (TM 401A TM401A) service manual and specs
    Kenwood TM-411E (TM 411E TM411E) service manual and specs
    Kenwood TM-431E (TM 431E TM431E) service manual and specs
    Kenwood TM-441E (TM 441E TM441E) service manual and specs
    Kenwood TM-451E (TM 451E TM451E) service manual and specs
    Kenwood TM-455E (TM 455E TM455E) service manual and specs
    Kenwood TM-461A (TM 461A TM461A) service manual and specs
    Kenwood TM-521A (TM 521A TM521A) service manual and specs
    Kenwood TM-531E (TM 531E TM531E) service manual and specs
    Kenwood TM-541 (TM 541 TM541) service manual and specs
    Kenwood TM-631A (TM 631A TM631A) service manual and specs
    Kenwood TM-642 (TM 642 TM642) service manual and specs
    Kenwood TM-701E (TM 701E TM701E) service manual and specs
    Kenwood TM-702E (TM 702E TM702E) service manual and specs
    Kenwood TM-721A (TM 721A TM721A) service manual and specs
    Kenwood TM-721E (TM 721E TM721E) service manual and specs
    Kenwood TM-731A (TM 731A TM731A) service manual and specs
    Kenwood TM-731E (TM 731E TM731E) service manual and specs
    Kenwood TM-732A (TM 732A TM732A) service manual and specs
    Kenwood TM-732E (TM 732E TM732E) service manual and specs
    Kenwood TM-733E (TM 733E TM733E) service manual and specs
    Kenwood TM-741E (TM 741E TM741E) service manual and specs
    Kenwood TM-742E (TM 742E TM742E) service manual and specs
    Kenwood TM-833S (TM 833S TM833S) service manual and specs
    Kenwood TM-842 (TM 842 TM842) service manual and specs
    Kenwood TM-941A (TM 941A TM941A) service manual and specs
    Kenwood TM-942 (TM 942 TM942) service manual and specs
    Kenwood TM-2400 (TM 2400 TM2400) service manual and specs
    Kenwood TM-2550E (TM 2550E TM2550E) service manual and specs
    Kenwood TR-50 (TR 50 TR50) service manual and specs
    Kenwood TR-751A (TR 751A TR751A) service manual and specs
    Kenwood TR-751E (TR 751E TR751E) service manual and specs
    Kenwood TR-851E (TR 851E TR851E) service manual and specs
    Kenwood TR-7100 (TR 7100 TR7100) service manual and specs
    Kenwood TR-7200G (TR 7200G TR7200G) service manual and specs
    Kenwood TR-7400A (TR 7400A TR7400A) service manual and specs
    Kenwood TR-7500 (TR 7500 TR7500) service manual and specs
    Kenwood TR-7600 (TR 7600 TR7600) service manual and specs
    Kenwood TR-7730 (TR 7730 TR7730) service manual and specs
    Kenwood TR-7800 (TR 7800 TR7800) service manual and specs
    Kenwood TR-7850 (TR 7850 TR7800) service manual and specs
    Kenwood TR-7930 (TR 7930 TR7930) service manual and specs
    Kenwood TR-7950 (TR 7950 TR7950) service manual and specs
    Kenwood TR-8300 (TR 8300 TR8300) service manual and specs
    Kenwood TR-8400 (TR 8400 TR8400) service manual and specs
    Kenwood TR-9000 (TR 9000 TR9000) service manual and specs
    Kenwood TR-9130 (TR 9130 TR9130) service manual and specs
    Trio TR-9300 (TR 9300 TR9300) service manual and specs
    Kenwood TR-9500 (TR 9500 TR9500) service manual and specs
    Kenwood TS-60S (TS 60S TS60S) service manual and specs
    Kenwood TW-4000A (TW 4000A TW4000A) service manual and specs
    Kenwood TW-4100E (TW 4100E TW4100E) service manual and specs
    Kenwood TM-V71A (TM V71A TMV71A) service manual and specs
    Kenwood TM-D710A (TM D710A TMD710A) service manual and specs
    Kenwood TM-V71E (TM V71E TMV71E) service manual and specs
    Kenwood TM-281A (TM 281A TM281A) service manual and specs

Kenwood Base VHF/UHF:
    Trio TR-2E (TR 2 E TR2E) service manual and specs
    Kenwood TS-600 (TS 600 TS600) service manual and specs
    Kenwood TS-700A (TS 700 A TS700A) service manual and specs
    Kenwood TS-700G (TS 700 G TS700G) service manual and specs
    Kenwood TS-700S (TS 700 S TS700S) service manual and specs
    Kenwood TS-711E (TS 711 E TS711E) service manual and specs
    Kenwood TS-770 (TS 770 TS770) service manual and specs
    Kenwood TS-780 (TS 780 TS780) service manual and specs
    Kenwood TS-790E (TS 790 E TS790E) service manual and specs
    Kenwood TS-811E (TS 811 E TS811E) service manual and specs

Kenwood HF and More Transceivers:
    Kenwood TS-50S (TS 50 S TS50S) service manual and specs
    Kenwood TS-120S (TS 120 S TS120S) service manual and specs
    Kenwood TS-120V (TS 120 V TS120V) service manual and specs
    Kenwood TS-130S (TS 130 S TS130S) service manual and specs
    Kenwood TS-130V (TS 130 V TS130V) service manual and specs
    Kenwood TS-140S (TS 140 S TS140S) service manual and specs
    Kenwood TS-180S (TS 180 S TS180S) service manual and specs
    Kenwood TS-430S (TS 430 S TS430S) service manual and specs
    Kenwood TS-440S (TS 440 S TS440S) service manual and specs
    Kenwood TS-450S (TS 450 S TS450S) service manual and specs
    Kenwood TS-480 (TS 480 TS480) service manual and specs
    Kenwood TS-510 (TS 510 TS510) service manual and specs
    Kenwood TS-515 (TS 515 TS515) service manual and specs
    Kenwood TS-520S (TS 520 S TS520S) service manual and specs
    Kenwood TS-520SE (TS 520 SE TS520SE) service manual and specs
    Kenwood TS-530S (TS 530 S TS530S) service manual and specs
    Kenwood TS-570DG (TS 570 DG TS570DG) service manual and specs
    Kenwood TS-570S (TS 570 S TS570S) service manual and specs
    Kenwood TS-660 (TS 660 TS660) service manual and specs
    Kenwood TS-670 (TS 670 TS670) service manual and specs
    Kenwood TS-680S (TS 680 S TS680S) service manual and specs
    Kenwood TS-690S (TS 690 S TS690S) service manual and specs
    Kenwood TS-820 (TS 820 TS820) service manual and specs
    Kenwood TS-820S (TS 820 S TS820S) service manual and specs
    Kenwood TS-830S (TS 830 S TS830S) service manual and specs
    Kenwood TS-850S (TS 850 S TS850S) service manual and specs
    Kenwood TS-870S (TS 870 S TS870S) service manual and specs
    Kenwood TS-900 (TS 900 TS900) service manual and specs
    Kenwood TS-930S (TS 930 S TS930S) service manual and specs
    Kenwood TS-940S (TS 940 S TS940S) service manual and specs
    Kenwood TS-950S (TS 950 S TS950S) service manual and specs
    Kenwood TS-950SDX (TS 950 SDX TS950SDX) service manual and specs
    Kenwood TS-2000 (TS 2000 TS2000 TS-2000X TS-B2000) service manual and specs
    Kenwood TS-590S (TS 590 S TS590S) service manual and specs
    Kenwood TS-990S (TS 990 S TS990S) service manual and specs

Kenwood Transmitters:
    Kenwood T-599D (T 599D T599D) service manual and specs
    Trio TX-310 (TX 310 TX310) service manual and specs
    Kenwood TX-599 (TX 599 TX599) service manual and specs
    Kenwood TX-599 Custom Special (TX 599 Custom Special TX599 Custom Special) service manual and specs

CB Equipment


President
Midland
Uniden
Zodiac

 Power amplifiers


Beko
Icom
Alinco
Drake
Yaesu
Daiwa
Collins
Kenwood
DanAmps
Ameritron
Autophon
Eto/Alpha
Command Technologies
E.F.Johnson
Dentron Radio Co.

FRS/GMRS


Bell
GPX
ENC
Tekk
Icom
Sony
Alinco
Drake
Cobra
Maxon
Vertex
Conair
Uniden
Jenson
Ranger
Midland
Whistler
Magnum
Unwired
Coleman
Motorola
Audiovox
Memorex
Columbia
Samsung
Standard
Kenwood
Cherokee
Panasonic
Freetalker
Vtech Vtalk
RadioShack
Fanon Courier
Sharper Image
General Electric
Oregon Scientific

PMR446


Sommerkamp
FreeQuency
Goodmans
Kenwood
Lafayette
President
Binatone
Motorola
Multicom
Albrecht
Maycom
Topcom
Xtreme
Ondico
Telcom
Maxon
Vertex
Zodiac
Yaesu
Cobra
Alinco
Icom
Alan
ITT